Research Article, J Nucl Ene Sci Power Generat Technol Vol: 11 Issue: 6
Modeling Energy Availability in Small Hydro Power Plants for Generation Reliability Assessment
Mirza Beig T1*, Vipin Kumar2 and Manoj Ojha3
1Department of Physics, Faculty of Science, SGT University, Gurugram, Haryana, Tunsia, India
2Department of Electrical and Electronic Engineering, Teerthanker Mahaveer University, Uttar Pradesh, India
3Department of Electrical and Electronic Engineering, Sanskriti University, Mathura, Uttar Pradesh, India
*Corresponding Author:Mirza Beig TDepartment of Physics, Faculty of Science,SGT University, Gurugram, Haryana, Tunsia, India; E-mail: mirza_fpsc@sgtuniversity.org
Received date: 09 February, 2022, Manuscript No. JNPGT-22-47028; Editor assigned date: 11 February, 2022, PreQC No. JNPGT-22-47028 (PQ); Reviewed date: 25 February, 2022, QC No. JNPGT-22-47028; Revised date: 13 April 2022, Manuscript No. JNPGT-22-47028 (R); Published date: 02 May 2022, DOI: 10.4172/2325-9809.1000289
Citation: Mirza BT, Vipin K, Manoj O (2022) Modeling Energy Availability in Small Hydro Power Plants for Generation Reliability Assessment. J Nucl Ene Sci Power Generat Technol 11:6.
Abstract
This paper provides a model for assessing the accessibility of Small Hydroelectric Plants For Generating (SHPPs), which may be used in generation system reliability as well as generational planing studies. The model takes into account the uncertainty of river inputs and the functioning of generating units. A multiple stages Markov chain is used to represent the river input as a chaotic stationary series, whereas a two states Markov model is used to simulate the generating unit. The use of the statistical clustering methods K-means in two distinct strategies: inflow clustering and power clustering, reduces the huge number of diverse inflow values. The solution of the stochastic system is used to determine the steady state probability of each power production value of the SHPP. Because the model includes the river inflow fluctuation and the generating unit operation, the anticipated value of the SHPP's yearly power production, the duration curve, and many reliability indices are estimated more accurately than traditional methods. The article presents results produced using real brazilian river inflows utilized for SHPP production, demonstrating the accuracy and validation of the proposed technique for dependability assessment.
Keywords: Energy availability; Fluctuation; Generation; Hydro power plant; Inflows
Introduction
In dependability assessments of generating systems, it is common to assume that the source of energy for generation is always accessible. This indicates that the breakdown of a power plant's generating unit is the only source of generation unavailability. In the instance of hydroelectric production, such modeling is accurate if the tank is full is big sufficient to ensure the supply of electricity via a continuous inflows' fecundity. However, energy supply cannot be deemed 100 percent dependable in For Smaller Hydro Power Stations (SHPP), when a reservoir isn't available or isn't large enough too small to ensure complete regularization. A number of rewards were offered. Provided for the development SHPP in need to meet the need for energy during the 2001 energy crisis in Brazil. The majority of these plants lack a regularization reservoir, thus their production is entirely dependent on river inputs, which vary seasonally and geographically [1].
These inflows may vary dramatically during the year, indicating that the energy available for production cannot be regarded as the project's nominal value. This implies that the two-state Markov model, which is often employed in order to depict power research on dependability generating, does not properly reflect Possibility of SHPP production. The goal of this article is to provide a role reference assessing tiny hydroelectric energy plant the accessibility of generating could be used in generation system research on dependability and power plan, and that takes into account both river inflows and generating unit operating uncertainty [2].
SHPP's potential as a competitive source of power is being investigated all around the world. Discusses the topic of tiny hydro as green energy, as well as the basic distinctions between large and small In respect of growth, hydro philosophies, operating principles, and building characteristics. As intermittent energy, Scattered winds and mini hydro generating are addressed in the energy structure is modified to favours sustainable wind Instead of using large amounts of energy, modest amounts of hydropower are used. Poor efficiency thermal production depending on the capability of the reserves planned Intermittence on a weekly and annual basis.
However, many studies fail to address the problem of energy source reliability. A hybrid wind system producing plant with storage sites is modelled in this paper. A basic climate there is a system that includes wind velocity, sun radiation, and rainfall. Constructed and then used to evaluate the mixed producing system's reliability using a Monte Carlo technique. Using the basic Institute of electrical and electronics by extending the technology adding hydro plants, the effect of water management techniques on producing reliability indices is investigated. The problem of intermittent wind generation is taken into taken into consideration while evaluating the system dependability division of the systems into producing subsystems that are separated into renewables and traditional sources. A probability of wind farm production is shown in where the probabilistic features of wind speed are combined with the organization data of the turbines, and the concept of wind farm dependability is expressed using a Markov process.
The majority of researches on river flows that are concerned with dependability are focused on for optimum energy operations management, big hydropower plants are used. we suggest in the article a technique for determining the best allocation from randomized river flows to different sub periods of the previous year. The aim is to effectively redistribute hydro energy based on economic factors, as well as to evaluate the system's effect on market regulations’s dependability. An integrative model for lengthy management and operations and hydrothermal system dependability evaluation is provided. Lake flows and energy demand are considered to be unpredictable, and all units are susceptible to outages at random. The aim is to lower the overall price of energy in addition the cost of expected energy interruption. In this paper, we propose a technique for depicting the chronological components of operational functioning of a geothermal energy system. The producing The pricing issue is split into a series of temporal hydro dependability problems, each of which is handled by a convolution reserve levels in rivers, needs, inflows, and generating endurance. A possibility approach was developed in. assessing dependability in the operating context management of large thermal generating systems is provided. The expected hourly loads as well as the energy constraints on hydraulic output are assessed. Its main functions are to generate dependability as well as revenue in the economic evaluations, as well as to prepare midterm reserves [3].
The river input is represented as a stable a random procedure using a different explains the Stochastic chain, while the generating unit is represented using a two states Stochastic model. By reducing the quantity of various inflow rates, the huge number of varied inflow values is decreased. Stochastic clustering methods are used in two distinct ways, K-means strategies: inflow filtering as well as energy grouping. The stable or region stable likelihood of each energy production value in the SHPP is determined using the stochastic system's solution. The anticipated values SHPP's annual power output, multiple reliability curves, including Because the model includes both the river input fluctuation and the power network operation, the duration curve indications are progressively computed more accurately than traditional methods. The findings were acquired using actual Brazilian river inflows for SHPP production, showing the precision and application of the suggested method for assessing reliability [4].
River inflow modelThe entry of water into the river is represented as a random event, with time as the process index and the amount of influx as the unpredictable variable. The Markov chains concept is a mathematical model that employed, with each stage representing a unique inflow value and transit rates calculated across states. Where the transition rate quantifies the transfer from one condition to the next. The frequency of any following states must solely rely on the current state for a must be carried out properly described by a Markov chain. Furthermore, the process must be stationary, with consistent behaviour throughout the time, regardless of the selected beginning point. This necessitates taking into account consistent transition probabilities among states throughout the entire operation. The It's possible that the river's input won't be sufficient. adequately represented Consider a Stochastic process that is stable owing to unanticipated changes During the influx period, may occur when studying a little span of time, like as a week or month, using measurements collected in tiny periods of period, for as weekly or monthly. These minor fluctuations effects, on the other hand, may be ignored if the inflow data utilized in the research don't stick to a strict schedule seasonal pattern and if the quantity of data is big enough, covering a long period of time, such as many years with monthly inflow averages, as in this work. Furthermore, when assessing the long-term anticipated values derived in reliability studies, such impacts are less relevant. In this respect, a Markov process that is stable and has consistent transitions rate may correctly reflect the influx [5].
Research Question:
- What is River Inflow Model?
- What is used of modeling energy availability in for generating stability, modest hydroelectric stations are used assessment?
- What is SHPP generation model?
Literature Review
Team of experts conducted a study by using Utilizing a Computer environment built on MATLAB/Simulink and the connection of models of various plant components, a simulation of a typical canal has been created as a simulator. Style mini hydro A generating plant was built. The wide channel, regulator, as well as a semi-Kaplan turbine, asynchronous generator, and exciter are among the components of a small hydropower plant being studied using modelling and simulation. The purpose of this research is to look at how it behaves in a temporary scenario. The simulation model will be improved utilizing a PID controller during the initial phase to reduce oscillation, peak overshoot, and maximum underestimate, as well as enhance the steady flow response. This study helps in the validation of cost and basic necessity, as well as the choice of the most effective options during the early phases of style and the identification of particular protective device requirements [6].
Team of experts discusses those Hydraulic turbines with cross-flow. They claim that because of their simple construction and the energy plant's production efficiency, these turbines are gaining favour in low fluid flow rate and little head applications, as well as in the Smaller hydroelectric stations are being developed. The characteristics of the turbine must be incorporated in the layout. To obtain maximum efficiency in a cross-flow turbine. The turbines are all cross-flow. Design parameters were computed at optimal efficiency in this study. The distance between the edges, amount of blade, curve diameter of the blade, attack angle, runner size, runner height, runners speed, rotor energy, abrasive water jet thickness, blade spacing, number of turns, radius of blade curvature, and blade and exit angles are among these parameters. The authors of this research came to the conclusion that cross-flow turbines are suitable for building modest hydroelectric generating facilities.
Team of experts discusses that reported the findings of an electricity system reliability study that took into account the effect of coordinating wind production with CHPPs. By using time consecutive Monte Carlo simulations the method is built on Latin Hypercube Sampling. features of timing series from variable power resources like wind turbines and cascades hydroelectric, as well as load, were maintained. The relationship between several wind turbines is taken into account. The suggested technique is tested on China's northwest grid. The findings indicate that by coordinating wind and hydropower, system dependability may be substantially enhanced.
Team of experts discusses that the data of Pathri power stations (India) from 2007 to 2012 was utilized to estimate unit dependability and availability using Markov models. The most significant reliability metrics, such as failure rate, repair rate, MTTR, MTBF, and MTTF, are found. By collecting and analysing data. Each year's data and each unit's data are time-stamped. After tallying all of the data, the author classified the various types of failures for each unit, taking into account the many sub unit and systems. Markov states were specified by the author of the classification. The failure rate and repair rate of each condition are calculated using classified data. The assessment of accessibility and dependability is performed based on their definition.
Methodology
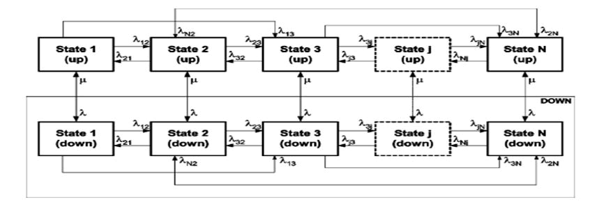
Research designThroughout this investigation, the impacts of river inflow fluctuation, whose behavior directly affects power production, must be included into the production availability and reliability indexes computed for a SHPP. As a result, it is critical that the river inflow behavior, as well as the potential of generator failure, be included in the dependability assessment. The river and the SHPP production availability model are combined in the Modelling for SHPP generating reliability. The inflow concept and the generator model that has just been presented are two different models. The two stochastic models' transition processes are modelled as variations in river input are considered separate occurrences. Generator failure has no effect on them, and vice versa. Although significant unexpected changes in input may have an impact on generator lifespan and maintenance, this is deemed of lesser importance and is not included in the simulation. It can be better understand in Figure 1.
Instrument usedElectric generator: Generator of electricity is any Hydraulic energy is converted into electrical energy by a machine. For transmission and distribution via power lines to residential, commercial, and industrial clients, sometimes it also known as a dynamo [8].
Hydroelectric power plantHydroelectric power production is a well-established technique that generates electricity by harnessing the potential energy of water.
Data collectionThe essential data utilized in the process, as well as the histogram for the computed classes for Rivers 1 and 2, are shown in Table 1.
| S.No | Data | River 1 | River 2 |
|---|---|---|---|
| 1 | QMin | 19 | 55 |
| 2 | QMax | 91 | 154 |
| 3 | Mean | 44.3 | 87.68 |
| 4 | No. Measures | 888/22 | 888/22 |
Table 1: Data utilized in the process.
Data analysis- If the inflow states are clustered, get the grouped state of outflow and compute the produced every one’s strength.
- If power grouping is desired, use to work out the produced each person's power input value, and then use to get the grouped states of power.
- Determine the rates at which the clustered inflow (or power) states change.
- Utilizing input changeover rates as a guide as well as the failure and maintenance rates of generators, calculate matrix.
- Solve system to get the probability of SHPP generating states.
- Determine the total probability, dependability indices and the endurance curve.
The following equations are used to determine the speeds of change among inflow and power clustering states (classes) [9]

where λij is the rate of transition among clustered states i and j, Nij is how many transitions there there among clustered states d and j, and Di is the length of residency in clustered state, provided by the aggregate of the n The following are the time periods during which this condition occurs:

Results and Discussion
The created model was tested on two real a sequence of Brazil Rivers that receive inflows provide electricity to SHPP, which were acquired from, and are referred to as River 1 and River 2.
Time series of inflowInflows are calculated using the From 1931 through 2004, monthly mean values were collected in Figure 1 depicts the values for each the month in history individually, whereas Figure 2 shows the same data in chronological sequence for River 1 July 1, 1931 through November 31, 2004. River 2's related data is shown in Figures 2, 3, 4 and 5, respectively [10].
The establishment on a large scale of hydroelectricity appropriate for local communities and industries, or to donate to a shared resource production in a regional energy grid, is referred to as small hydro. A "small hydro" project is one that has a capacity smaller than 50 Mega-Watt (MW) and could be additionally split into "mini" (1 MW), "macro" (100 kW), or "pico" (500 kW) (10 kW). There are many hydropower projects in the works. On the other hand, are massive, such as the 22,500 megawatt generating facility at the Three Gorges Dam or the Tennessee Valley Authority's massive multiple projects. Small hydro plants may be constructed in remote regions where a national power grid would be uneconomic to service, or in areas where one does not exist [11].
Conclusion
The study's main result is that in modelling the energy availability affiliated with creek inflow variability and generator unit accessibility for SHPP generation ease of access and reliability studies, the power availability affiliated with river inflow variability and generator unit availability must be modelled together. For example, River 1's SHPP has a nominal capacity of 30 MW, although the produced power value is anticipated to be much higher., disregarding generation failure, is 16.3 MW, which is a discrepancy 13.7 Mega Watts (MW), or 46%, from the monetary worth If incorporating river input fluctuations, the SHPP is depicted as a realistic multiple power production states model, instead of a basic up or down states model. Incorporating generating unit failures, on the one hand, results in a more accurate estimate a measure of the risk's assured power that is tolerable threshold.
To properly predict the SHPP availability, several factors regarding the power plant must be known, such the length of the river fall kind and features of the rotor generator, and, most significantly, the stream overcoming the influx regime time. When translating input data to power, only the turbine efficiency is dependent on the inflow. For the two SHPPs investigated in this research, the flow The River’s flow regime generates minor differences in turbine efficiencies. As a result, the characteristics of the energy and inflow series are comparable, resulting Expected values given the provided data are comparable. Energy and electricity serviceability indices computed by the two grouping algorithms. The clustering technique, on the other hand, has an effect on the likelihood distribution function of the cluster states, causing changes in the duration curves and, as a consequence, the authority that comes with a certain danger.
Because the clustering method is performed immediately to the measurements made recorded in the time series, it is preferable to assemble the first time dependant variables immediately rather than indirectly via a conversion factor. In addition, clustering the influx series tends to yield less fluctuation in the real power produced, since small changes in the stream influx will not result in differences owing to an increase in the produced electricity to lethargy as well as other projects variables not represented. However, no significant differences among the two grouping approaches are expected in practice, since generator sort and character traits are selected during in the project phase in conformity with river inlet in need to maintain a continue operating at the nearly part of the curve that is flat for the majority of the moment, where the relationship among influx of foreign and power is almost constant.
References
- Vucetic I, Kirin S, Sedmak A, Golubovic T, Lazic M, et al. (2019) Risk management of a hydro power plant–fracture mechanics approach. Tehnicki vjesnik 26: 428-432. [Crossref][Google Scholar][Pubmed]
- Tapia A, Millan P, Gomez-Estern F (2018) Integer programming to optimize Micro-Hydro Power Plants for generic river profiles. Renew Energy 126: 905-914. [Crossref][Google Scholar][Pubmed]
- Eichhorn M, Scheftelowitz M, Reichmuth M, Lorenz C, Louca K, et al. (2019) Spatial distribution of wind turbines, photovoltaic field systems, bioenergy, and river hydro power plants in Germany. Data 4: 29. [Crossref][Google Scholar][Pubmed]
- Marcelino CG, Leite GM, Delgado CA, de Oliveira LB, Wanner EF, et al. (2021) An efficient multi-objective evolutionary approach for solving the operation of multi-reservoir system scheduling in hydro-power plants. Expert Syst Appl 185: 115638. [Crossref][Google Scholar][Pubmed]
- Carvalho EG, Blanco CJ, Duarte AA, Maues LM (2020) Decision support system for hydro power plants in amazon considering the cost of externalities. Int J Energy Econ 10: 40. [Crossref][Google Scholar][Pubmed]
- Setiawan D (2015) Potential sites screening for mini hydro power plant development in Kapuas Hulu, west kalimantan: A GIS approach. Energy Procedia 65: 76-82. [Crossref][Google Scholar][Pubmed]
- Lone RA. Modeling and analysis of canal type small hydro power plant and performance enhancement using PID controller. IOSR J Elec Elect Eng (IOSR-JEEE) 6: 6-14. [Crossref][Google scholar][Pubmed]
- Nasir BA (2013) Design of high efficiency cross-flow turbine for hydro-power plant. Int J Eng Adv Technol 2: 308-311. [Crossref] [Google Scholar][Pubmed]
- Dai Q, Zeng P, Zhou Q, Li B, Zhao F, et al. (2015) Reliability assessment of a power system with high penetration of wind and cascade hydropower plant considering wind correlation. In 2015 IEEE Power Energy Society General Meeting 1-5. [Crossref][Google Scholar] [Pubmed]
- Sahu M, Barve A (2013) Reliability and Availability Evaluation of Hydro Power Station. Int J Emerg Technol 4: 89-93. [Crossref] [Google Scholar][Pubmed]
- Borges CL, Pinto RJ (2008) Small hydro power plants energy availability modeling for generation reliability evaluation. IEEE Transactions on Power Systems 23: 1125-1135. [Crossref][Google Scholar][Pubmed]
Spanish
Chinese
Russian
German
French
Japanese
Portuguese
Hindi 





